Strukturelle Løsninger

Uafhængige konstruktionsopgaver udført med præcision.

Omfatter delopgaver fra større projekter, f.eks. analytiske modeller, tegninger eller komplette beregninger af specifikke konstruktionsdele.

Strukturelle Løsninger

Uafhængige konstruktionsopgaver udført med præcision.

Omfatter delopgaver fra større projekter, f.eks. analytiske modeller, tegninger eller komplette beregninger af specifikke konstruktionsdele.

  • 15/03/2025

    En samling af projekter fra ETABS- og SAP2000-onlinekurser.

    Med forskellige konstruktionssystemer og deres finit element-analyser fremhæver disse løsninger mine evner i opbygning og analyse af FE-modeller med CSi-software.

  • 7,5 m spænd, 30 m lang stålkonstruktion.

    Udstyret med kompositdæk fungerer bygningen som bærende konstruktion for siloer.

  • Med symmetrisk arrangede skivevægge fungerer denne 23-etagers armeret betonbygning som en boligbygning med høj kapacitet.

    Ved hjælp af ETABS blev der udført statiske og dynamiske analyser på bygningen, og konstruktive elementer såsom dæk, støttemure og skivevægge, bjælker og søjler blev verificeret og optimeret.

    Bygningens pladefundament blev eksporteret til SAFE, hvilket gjorde det muligt at analysere opførsel præcist.

  • 20 × 20 meter nettoareal rumgitter, sammensat af cirkulære huleprofiler og deres samlinger.

  • Design og modellering af et reklameskilt med stålpladebanner, opbygget af vinkelprofiler.

    Tre-etagers betonbygning med flade betondæk.

  • 121 meter høj ståltårn med en ramme- og skivegitter-strukturel opbygning.

  • 02/05/2023

    19 m spænd, 1,2 m kipshøjde limtræstagbjælke.

    Verifikationer for længdebøjning, tværgående træk- og forskydningsspændinger, lateral ustabilitet og nedbøjninger blev udført i overensstemmelse med EN 1995-1-1.

  • 31/05/2023

    T-formet forspændt betonbjælke.

    Dette designprojekt undersøger specifikke egenskaber ved forspændte betonelementer. Designprocessen omfattede følgende trin:

    Udformning af armering og forspændingskabler,
    Verifikation i den indledende tilstand,
    Beregning af forspændingstab,
    Dimensionering af forskydningsarmering,
    Endebloksanalyse.

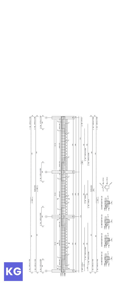
  • Armeringslayout

    Forskallings- og armeringstegninger for bjælken.

    Oprettet i Tekla Structures.

  • 28/05/2023

    Stabilitetsverifikationer for en 5-etagers stålkonstruktion.

    I overensstemmelse med EN 1993 krævedes der verifikationer og beregninger for andenordenseffekter, globale og lokale imperfektioner samt deres ersættningslaster.

    Stabilitetskontroller blev udført ved hjælp af reduktionsfaktormetoden i lokale elementer og generel metode for den globale struktur.

  • 08/03/2022

    Dette tredelte projekt undersøger de primære bærende elementer i en typisk betonkonstruktion.

    Formålet med arbejdet var beregning og dimensionering af et mellemdæk, en søjle og en bjælke i overensstemmelse med EN 1992 samt udarbejdelse af deres armeringstegninger.

  • Bjælke

    Armeringstegning af en typisk bjælke.

    Oprettet i AutoCAD.

  • Søjle

    Armeringstegning af en mellemliggende søjle.

    Oprettet i AutoCAD.

  • 15/03/2025

    En samling af projekter fra ETABS- og SAP2000-onlinekurser.

    Med forskellige konstruktionssystemer og deres finit element-analyser fremhæver disse løsninger mine evner i opbygning og analyse af FE-modeller med CSi-software.

  • 7,5 m spænd, 30 m lang stålkonstruktion.

     

    Udstyret med kompositdæk fungerer bygningen som bærende konstruktion for siloer.

  • Med symmetrisk arrangede skivevægge fungerer denne 23-etagers armeret betonbygning som en boligbygning med høj kapacitet.

     

    Ved hjælp af ETABS blev der udført statiske og dynamiske analyser på bygningen, og konstruktive elementer såsom dæk, støttemure og skivevægge, bjælker og søjler blev verificeret og optimeret.

    Bygningens pladefundament blev eksporteret til SAFE, hvilket gjorde det muligt at analysere opførsel præcist.

  • 20 × 20 meter nettoareal rumgitter, sammensat af cirkulære huleprofiler og deres samlinger.

  • Design og modellering af et reklameskilt med stålpladebanner, opbygget af vinkelprofiler.

     

    Tre-etagers betonbygning med flade betondæk.

  • 121 meter høj ståltårn med en ramme- og skivegitter-strukturel opbygning.

  • 02/05/2023

    19 m spænd, 1,2 m kipshøjde limtræstagbjælke.

     

    Verifikationer for længdebøjning, tværgående træk- og forskydningsspændinger, lateral ustabilitet og nedbøjninger blev udført i overensstemmelse med EN 1995-1-1.

  • 31/05/2023

    T-formet forspændt betonbjælke.

    Dette designprojekt undersøger specifikke egenskaber ved forspændte betonelementer. Designprocessen omfattede følgende trin:

    Udformning af armering og forspændingskabler,
    Verifikation i den indledende tilstand,
    Beregning af forspændingstab,
    Dimensionering af forskydningsarmering,
    Endebloksanalyse.

  • Forskallings- og armeringstegninger for bjælken.

     

    Oprettet i Tekla Structures.

  • 28/05/2023

    Stabilitetsverifikationer for en 5-etagers stålkonstruktion.

     

    I overensstemmelse med EN 1993 krævedes der verifikationer og beregninger for andenordenseffekter, globale og lokale imperfektioner samt deres ersættningslaster.

     

    Stabilitetskontroller blev udført ved hjælp af reduktionsfaktormetoden i lokale elementer og generel metode for den globale struktur.

  • 08/03/2022

    Dette tredelte projekt undersøger de primære bærende elementer i en typisk betonkonstruktion.

     

    Formålet med arbejdet var beregning og dimensionering af et mellemdæk, en søjle og en bjælke i overensstemmelse med EN 1992 samt udarbejdelse af deres armeringstegninger.

  • Armeringstegning af en typisk bjælke.

     

    Oprettet i AutoCAD.

  • Armeringstegning af en mellemliggende søjle.

     

    Oprettet i AutoCAD.

KOMMERCIELLE PROJEKTER
TILBAGE TIL PROJEKTER